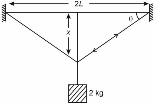
A wire of cross sectional area A, modulus of elasticity 2×1011Nm−2 and length 2m is stretched between two vertical rigid supports. When a mass of 2kg is suspended at the middle it sags lower from its original position making angle θ=1100 radian on the points of support. The value of A is ________×10−4m2 (consider x<<L). (Given : g=10m/s2)

The correct Answer is:1
Topper's Solved these Questions
Similar Questions
A wire of cross -sectional area 4×10−4m2 , modulus of elasticity 2×1011Nm−2 and length 1 m is stretched between two rigid poles . A mass of 1 kg is suspended at its middle . Calculate the angle it makes with horizontal . Take g = 10ms−2
View SolutionA wire of cross -sectional area 4×10−4m2 , modulus of elasticity 2×1011Nm−2 and length 1 m is stretched between two rigid poles . A mass of 1 kg is suspended at its middle . Calculate the angle it makes with horizontal . Take g = 10ms−2
View Solution
Knowledge Check
A metal wire of length L is suspended vertically from a rigid support. When a bob of mass M is attached to the lower end of wire, the elongation of the wire is l:
AThe loss in gravitational potential energy of mass M is Mgl.BThe elastic potential energy stored in the wire is MglCThe elastic potential energy stored in the wire is 12MglDHeat produced is loss of mechanical energy of system is 12MglA wire 2 m in length suspended vertically stretches by. 10 mm when mass of 10 kg is attached to the lower end. The elastic potential energy gain by the wire is (take g = 10m/s2)
A0.5 JB5 JC50 JD500 JA mild steel wire of length 2L and cross-sectional area A is stretched, well with in the elastic limit, horizontally between two pillars as shown in figure. A mass m is suspended from the mid-point of the wire strain in the wire is
Ax22L2BxLCx2LDx22L
A metal wire of length L is suspended vertically from a rigid support. When a bob of mass M is attached to the lower end of wire, the elongation of the wire is l:
View SolutionA wire 2 m in length suspended vertically stretches by. 10 mm when mass of 10 kg is attached to the lower end. The elastic potential energy gain by the wire is (take g = 10m/s2)
View SolutionA mild steel wire of length 1.0m and cross sectional area 5.0×10−2cm2 is stretched, within its elastic limit horizontally between two pillars. A mass of 100g is suspended form the midpont of the wire. Calculate the depression at the midpoint (Ysteel=200GPa)
View SolutionA rod of uniform cross sectional area 5mm2 weighing5kg and length 1m is suspended vertically from a fixed support the elongation produced in the rod if [Young's modulus of material, Y=2x1011Nm2 and g=10ms−2]
View SolutionA steel wire of negligible mass, length 2I, cross sectional area 'A' and Young's modulus 'Y' is held between two rigid walls. A small body of mass 'm' is suspended from its middle point 'O' as shown. The vertical descent of the middle point 'O' of the wire is

View Solution

